Series 322 Test Systems
With multiple actuator position options and a second load train mounting position, this T-slot table test system can be configured for a wide variety of applications. Ideal for testing components and sub-assemblies.
Applications
- Static Testing
- Dynamic Testing
Test Specimens
- Metals
- Composites
- Plastics
- Dampers
- Components
- Sub-Assemblies
Key Product Features
Easy-to-Use
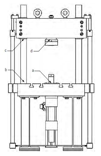
T-slot table set at convenient working height for easy specimen placement
Precise
Two load train mounting positions place actuator and crosshead where you need them
Advanced Safety Features
Optional hydraulic locks to quickly unlock and lock the crosshead
Versatile
Capable of testing small material specimen to large automotive subassemblies
Model Comparison
Model 322.21
- Maximum rated force capacity: 100 kN (22 kip)
- Maximum specimen/grip clearance: 1270 mm (50 in)
- Table height: 838 mm (33 in)
Model 322.31
- Maximum rated force capacity: 250 kN (55 kip)
- Maximum specimen/grip clearance: 1575 mm (62 in)
- Table height: 864 mm (34 in)
Model 322.41
- Maximum rated force capacity: 500 kN (110 kip)
- Maximum specimen/grip clearance: 2057 mm (81 in)
- Table height: 984 mm (39 in)
Custom Configurations
- Contact MTS for custom options
Full Product Information

Fatigue Ratings, Dimensions and Weights
US Customary Units
|
MODEL 322.21 |
MODEL 322.31 |
MODEL 322.41 |
load unit fatigue rating |
22 kip |
55 kip |
110 kip |
a maximum specimen/grip clearance¹ |
50.0 in |
62.0 in |
81.0 in |
b width between columns |
21.0 in |
25.0 in |
30.0 in |
c height — with standard columns² |
98 in |
118.5 in |
144.75 in |
d table height |
33.0 in |
34.0 in |
38.7 in |
e table width — side-to-side, without lifts |
28.0 in |
34.0 in |
42.0 in |
f width — side-to-side, with lifts³ |
34.0 in |
40.0 in |
48.0 in |
depth — front-to-back (not shown)³ |
40.0 in |
40.0 in |
60.0 in |
weight⁴ |
3000 lb |
4500 lb |
8500 lb |
Metric Units
|
MODEL 322.21 |
MODEL 322.31 |
MODEL 322.41 |
load unit fatigue rating |
100 kN |
250 kN |
500 kN |
a maximum specimen/grip clearance¹ |
1270 mm |
1575 mm |
2057 mm |
b width between columns |
533 mm |
635 mm |
762 mm |
c height — with standard columns² |
2489 mm |
3010 mm |
3677 mm |
d table height |
838 mm |
864 mm |
984 mm |
e table width — side-to-side, without lifts |
711 mm |
864 mm |
1067 mm |
f width — side-to-side, with lifts³ |
864 mm |
1016 mm |
1219 mm |
depth — front-to-back (not shown)³ |
1000 mm |
1000 mm |
1500 mm |
weight⁴ |
1370 kg |
2050 kg |
3870 kg |
¹ with a standard Series 661 Force Transducer and a fully retracted 6 in (150 mm) displacement actuator. |
|||
² with a table mounted actuator. |
|
|
|
³ on standard length tables.The Control Module’s position can increase the table’s width and depth. |
|||
⁴ typical maximum weight with hydraulic locks, hydraulic lifts, and a standard dimension platen. Does not include the weight of grips or other accessories. |

T-slot Table Dimensions
US Customary Units
MODEL |
a |
b¹ |
c |
d |
e² |
f |
g |
h |
332.21 |
28.0 in |
40.0 in |
14.0 in |
20.0 in |
5.0 in |
9.0 in |
4.0 in |
5.0 in |
322.31 |
34.0 in |
40.0 in |
17.0 in |
20.0 in |
6.0 in |
10.0 in |
5.0 in |
5.0 in |
322.41 |
42.0 in |
60.0 in |
21.0 in |
30.0 in |
12.0 in |
12.0 in |
7.0 in |
5.0 in |
Metric Units
MODEL |
a |
b¹ |
c |
d |
e² |
f |
g |
332.21 |
711 mm |
1000 mm |
355.6 mm |
508.0 mm |
127.0 mm |
228.6 mm |
101.6 mm |
322.31 |
864 mm |
1000 mm |
431.8 mm |
508.0 mm |
152.4 mm |
254.0 mm |
127.0 mm |
322.41 |
1067 mm |
1500 mm |
533.4 mm |
762.0 mm |
304.8 mm |
304.8 mm |
177.8 mm |
¹ Larger tables available. |
|
|
|
|
|
|
|
² Standard Series 322 Test Systems are delivered with 1 actuator mounting position: either end- or center-mounted. Systems with dual-mounting positions can be ordered on a custom basis.
|

Deflections and Spring Rates
|
deflections¹ |
322.21 22 kip/100 kN |
322.31 55 kip/250 kN |
322.41 110 kip/500 kN |
a-b |
base |
0.006 in 0.15 mm |
0.007 in 0.18 mm |
0.008 in 0.20 mm |
b-c |
columns |
0.004 in 0.10 mm |
0.006 in 0.20 mm |
0.008 in 0.20 mm |
c-d |
crosshead |
0.005 in 0.13 mm |
0.010 in 0.20 mm |
0.10 in 0.25 mm |
a-d |
overall frame |
0.015 in 0.38 mm |
0.021 in 0.53 mm |
0.026 in 0.66 mm |
|
spring rates1 |
1.5 x 106 lb/in 2.6 x 108 N/m |
2.6 x 106 lb/in 4.6 x 108 N/m |
4.2 x 106 lb/in 7.4 x 108 N/m |
¹ Determined at each Load Unit’s full fatigue rating with its crosshead raised 50 in (1270 mm) above the T-slot table. |
||||
Deflection rates can vary 20%, depending on the type of actuator and force transducer you use. |
|
|||
For the most accurate high frequency test results, use a Load Unit with a fatigue rating that’s larger than its actuator’s force rating. (A 322.31 Load Unit with a 55 kip fatigue rating and a 22 kip actuator will be stiffer than a 322.21 Load Unit with a 22 kip fatigue rating and 22 kip actuator.) |
||||
|
|
|
|
|
Service and Support
Our experts are here to help keep you up and running.
Related Products, Parts or Accessories
SilentFlo™ 515 & 525 Hydraulic Power Units (HPU)
Series 651 Environmental Chambers
Servohydraulic System Load Cells
TestSuite Software
Looking for more products?
Go to Solution FinderCONTACT US TODAY
Ready for a quote or need more information? We're here to help. Request A QuoteResources
Accelerate Active & Semi-active System Development
Explore the the advantages of proven mHIL technology.
Fluid Care Program
Managed sampling, analysis and review of hydraulic fluids…
Testing High-performance Bike Suspensions
Tour the testing lab at Fox Factory, Inc. to see how they co…
Auto Modular Components
Precision-engineered load-bearing components, test actuators…
New Online Training Classes Available
Live, instructor-led introductory courses on our most common…