複数のアクチュエーターの位置オプションと二つ目のロードトレインの取付位置により、この T スロットテーブル試験システムは様々な用途に対応することができます。部品やサブアセンブリの試験に最適です。
アプリケーション
- 動的特性評価
試験片
- 金属
- 複合材
- プラスチック
- ダンパー
- コンポーネント
- Sub-Assemblies
主な製品特徴
Easy-to-Use
T スロットテーブルは試験片の設置を容易にするため作業しやすい高さに設定します。
正確さ
アクチュエータとクロスヘッドを配置する 2 つのロードトレインをお好みの位置に取付ます。
高度な安全装備
油圧ロック (オプション)で、素早くクロスヘッドを固定および解除することができます。
汎用
小さい試験片から大型の自動車サブアセンブリまでの試験が可能です。
モデルの比較
モデル 322.21
- 最大定格荷重容量: 100 kN (22 kip)
- 最大の試験片/グリップ間隔: 1270 mm (50 in)
- テーブルの高さ: 838 mm (33 in)
モデル 322.31
- 最大定格荷重容量: 250 kN (55 kip)
- 最大の試験片/グリップ間隔: 1575 mm (62 in)
- テーブルの高さ: 864 mm (34 in)
モデル 322.41
- 最大定格荷重容量: 500 kN (110 kip)
- 最大の試験片/グリップ間隔: 2057 mm (81 in)
- テーブルの高さ: 984 mm (39 in)
カスタム構成
- カスタムオプションに関して MTS へ連絡
製品情報完全版

疲労度、寸法、重量
米国慣用単位
|
モデル 322.21 |
モデル 322.31 |
モデル 322.41 |
荷重ユニット疲労度 |
22 kip |
55 kip |
110 kip |
a最大の試験片/グリップ間隔¹ |
50.0 in |
62.0 in |
81.0 in |
bコラム間の幅 |
21.0 in |
25.0 in |
30.0 in |
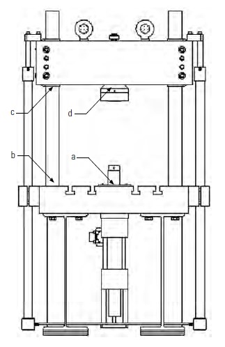
c高さ - 標準的なコラム² |
98 in |
118.5 in |
144.75 in |
dテーブルの高さ |
33.0 in |
34.0 in |
38.7 in |
eテーブル幅 - 端から端まで (リフトなし) |
28.0 in |
34.0 in |
42.0 in |
f幅 - 端から端まで (リフト付き)³ |
34.0 in |
40.0 in |
48.0 in |
奥行き - 前から後まで (図なし)³ |
40.0 in |
40.0 in |
60.0 in |
重量⁴ |
3000 lb |
4500 lb |
8500 lb |
メートル法
|
モデル 322.21 |
モデル 322.31 |
モデル 322.41 |
荷重ユニット疲労度 |
100 kN |
250 kN |
500 kN |
a最大の試験片/グリップ間隔¹ |
1270 mm |
1575 mm |
2057 mm |
bコラム間の幅 |
533 mm |
635 mm |
762 mm |
c高さ - 標準的なコラム² |
2489 mm |
3010 mm |
3677 mm |
dテーブルの高さ |
838 mm |
864 mm |
984 mm |
eテーブル幅 - 端から端まで (リフトなし) |
711 mm |
864 mm |
1067 mm |
f幅 - 端から端まで (リフト付き)³ |
864 mm |
1016 mm |
1219 mm |
奥行き - 前から後まで (図なし)³ |
1000 mm |
1000 mm |
1500 mm |
重量⁴ |
1370 kg |
2050 kg |
3870 kg |
¹ 標準の 661 シリーズの荷重トランスデューサと、完全に引き込まれた 150 mm (6 インチ) の変位アクチュエータを使用。 |
|||
² テーブルマウント型のアクチュエータ。 |
|
|
|
³ 標準的な長さのテーブル。制御モジュールの位置によってテーブルの幅や奥行きを広げることができます。 |
|||
⁴ 油圧ロック、油圧リフト、標準寸法のプラテンを使用した標準的な最大重量です。グリップやその他の付属品の重量は含まれません。 |

T スロットテーブルの寸法
米国慣用単位
モデル |
a |
b¹ |
c |
d |
e² |
f |
g |
h |
332.21 |
28.0 in |
40.0 in |
14.0 in |
20.0 in |
5.0 in |
9.0 in |
4.0 in |
5.0 in |
322.31 |
34.0 in |
40.0 in |
17.0 in |
20.0 in |
6.0 in |
10.0 in |
5.0 in |
5.0 in |
322.41 |
42.0 in |
60.0 in |
21.0 in |
30.0 in |
12.0 in |
12.0 in |
7.0 in |
5.0 in |
メートル法
モデル |
a |
b¹ |
c |
d |
e² |
f |
g |
332.21 |
711 mm |
1000 mm |
355.6 mm |
508.0 mm |
127.0 mm |
228.6 mm |
101.6 mm |
322.31 |
864 mm |
1000 mm |
431.8 mm |
508.0 mm |
152.4 mm |
254.0 mm |
127.0 mm |
322.41 |
1067 mm |
1500 mm |
533.4 mm |
762.0 mm |
304.8 mm |
304.8 mm |
177.8 mm |
¹ さらに大きなテーブルも用意しています。 |
|
|
|
|
|
|
|
² 二つ目のアクチュエータ (オプション) 取付位置までの距離。 |
|
|
|
|

たわみ量とスプリングレート
|
たわみ¹ |
322.21 22 kip/100 kN |
322.31 55 kip/250 kN |
322.41 110 kip/500 kN |
a-b |
ベース |
0.006 in 0.15 mm |
0.007 in 0.18 mm |
0.008 in 0.20 mm |
b-c |
コラム |
0.004 in 0.10 mm |
0.006 in 0.20 mm |
0.008 in 0.20 mm |
c-d |
クロスヘッド |
0.005 in 0.13 mm |
0.010 in 0.20 mm |
0.10 in 0.25 mm |
a-d |
フレーム全体 |
0.015 in 0.38 mm |
0.021 in 0.53 mm |
0.026 in 0.66 mm |
|
スプリングレート1 |
1.5 x 106 lb/in 2.6 x 108 N/m |
2.6 x 106 lb/in 4.6 x 108 N/m |
4.2 x 106 lb/in 7.4 x 108 N/m |
¹ 各荷重ユニットの完全な疲労定格において、クロスヘッドを T スロットテーブルから 50 インチ (1270 mm) 持ち上げた状態で求められます。 |
||||
たわみ率は、使用するアクチュエーターや荷重トランスデューサの種類によって 20% 程度変化します。 |
|
|||
最も正確な高周波試験の結果を得るために、アクチュエータの定格荷重よりも大きい疲労度の荷重ユニットを使用します。 ( |
||||
322.31 荷重ユニット (疲労度 55 kip およびアクチュエータ 22 kip)は、322.21 荷重ユニット (疲労度 22 kip、アクチュエータ 22 kip)に比べて |
||||
剛性が高くなります。) |
|
|
|
|
サービスおよびサポート
いつでも活用できるように、専門家がお手伝いします。
関連製品、部品またはアクセサリ
SilentFlo™ 515 & 525 油圧動力ユニット(HPU)
Series 651 環境チャンバー
油圧制御式システム用ロードセル
TestSuite ソフトウェア
他の製品をお探しですか?
ソリューションファインダーへ移動今すぐお問い合わせください
お見積りまたは詳細情報をご希望ですか?私たちがお手伝いします。 見積もりを依頼するリソース