Sistemas de Teste Série 322
Com múltiplas opções de posição do atuador e uma segunda posição de montagem do trem de carga, este sistema de teste de mesa com ranhura T pode ser configurado para uma ampla variedade de aplicações. Ideal para testar componentes e subconjuntos.
Aplicações
- Caracterização dinâmica
Corpos de prova de teste
- Metais
- Compósitos
- Plásticos
- Amortecedores
- Componentes
- Sub-Assemblies
Principais recursos do produto
Easy-to-Use
Mesa com ranhuras em "T" colocadas a uma altura de trabalho conveniente para facilitar a colocação dos corpos de prova
Preciso
Duas posições de montagem do trem de carga colocam o atuador e a travessa onde você precisa deles
Recursos avançado de segurança
Travas hidráulicas opcionais para destravar e travar rapidamente a travessa
Versátil
Capaz de testar material de pequenos corpos de prova para grandes subconjuntos automotivos
Comparação de modelos
Modelo 322.21
- Coeficiente Máximo de Capacidade de Força: 100 kN (22 kip)
- Folga máximado corpo de prova/garra 1270 mm (50 in)
- Altura da mesa: 838 mm (33 in)
Modelo 322.31
- Coeficiente Máximo de Capacidade de Força: 250 kN (55 kip)
- Folga máximado corpo de prova/garra 1575 mm (62 in)
- Altura da mesa: 864 mm (34 in)
Modelo 322.41
- Coeficiente Máximo de Capacidade de Força: 500 kN (110 kip)
- Folga máximado corpo de prova/garra 2057 mm (81 in)
- Altura da mesa: 984 mm (39 in)
Configurações personalizadas
- Entre em contato com a MTS para opções personalizadas
Informações completas do produto
Coeficientes de fadiga, dimensões e pesos
Unidades Convencionais dos EUA
|
|
MODELO 322.21 |
MODELO 322.31 |
MODELO 322.41 |
|
coeficiente de fadiga da unidade de carga |
22 kip |
55 kip |
110 kip |
|
a folga máxima do corpo de prova/garra |
50.0 in |
62.0 in |
81.0 in |
|
b largura entre as colunas |
21.0 in |
25.0 in |
30.0 in |
|
c altura — com colunas padrão² |
98 in |
118.5 in |
144.75 in |
|
d altura da mesa |
33.0 in |
34.0 in |
38.7 in |
|
e largura da mesa — lado a lado, sem elevadores |
28.0 in |
34.0 in |
42.0 in |
|
f largura da mesa — lado a lado, com elevadores³ |
34.0 in |
40.0 in |
48.0 in |
|
profundidade — frontal para traseira (não mostrado)³ |
40.0 in |
40.0 in |
60.0 in |
|
peso⁴ |
3000 lb |
4500 lb |
8500 lb |
Unidades Métricas
|
|
MODELO 322.21 |
MODELO 322.31 |
MODELO 322.41 |
|
coeficiente de fadiga da unidade de carga |
100 kN |
250 kN |
500 kN |
|
a folga máxima do corpo de prova/garra |
1270 mm |
1575 mm |
2057 mm |
|
b largura entre as colunas |
533 mm |
635 mm |
762 mm |
|
c altura — com colunas padrão² |
2489 mm |
3010 mm |
3677 mm |
|
d altura da mesa |
838 mm |
864 mm |
984 mm |
|
e largura da mesa — lado a lado, sem elevadores |
711 mm |
864 mm |
1067 mm |
|
f largura da mesa — lado a lado, com elevadores³ |
864 mm |
1016 mm |
1219 mm |
|
profundidade — frontal para traseira (não mostrado)³ |
1000 mm |
1000 mm |
1500 mm |
|
peso⁴ |
1370 kg |
2050 kg |
3870 kg |
|
¹ com um Transdutor de Força Série 661 padrão e deslocamento do atuador totalmente retraído a 150 mm (6 pol). |
|||
|
² com um atuador montado em mesa. |
|
|
|
|
³ em mesas de comprimento padrão. A posição do Módulo de Controle pode aumentar a largura e a profundidade da mesa. |
|||
|
⁴ Peso máximo normal com travamentos hidráulicos, elevadores hidráulicos e placa de dimensão padrão. Não inclui o peso de garras ou outros acessórios. |
|||
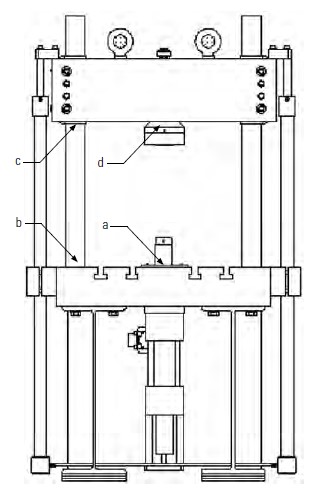
Dimensões da mesa de encaixe em T
Unidades Convencionais dos EUA
|
MODELO |
a |
b¹ |
c |
d |
e² |
f |
g |
h |
|
332.21 |
28.0 in |
40.0 in |
14.0 in |
20.0 in |
5.0 in |
9.0 in |
4.0 in |
5.0 in |
|
322.31 |
34.0 in |
40.0 in |
17.0 in |
20.0 in |
6.0 in |
10.0 in |
5.0 in |
5.0 in |
|
322.41 |
42.0 in |
60.0 in |
21.0 in |
30.0 in |
12.0 in |
12.0 in |
7.0 in |
5.0 in |
Unidades Métricas
|
MODELO |
a |
b¹ |
c |
d |
e² |
f |
g |
|
332.21 |
711 mm |
1000 mm |
355.6 mm |
508.0 mm |
127.0 mm |
228.6 mm |
101.6 mm |
|
322.31 |
864 mm |
1000 mm |
431.8 mm |
508.0 mm |
152.4 mm |
254.0 mm |
127.0 mm |
|
322.41 |
1067 mm |
1500 mm |
533.4 mm |
762.0 mm |
304.8 mm |
304.8 mm |
177.8 mm |
|
¹ mesas maiores estão disponíveis. |
|
|
|
|
|
|
|
|
² distância para posição de montagem do segundo atuador opcional. |
|
|
|
|
|||
Desvios e Coeficientes das Molas
|
|
desvios¹ |
322.21 22 kip/100 kN |
322.31 55 kip/250 kN |
322.41 110 kip/500 kN |
|
a-b |
base |
0.006 in 0.15 mm |
0.007 in 0.18 mm |
0.008 in 0.20 mm |
|
b-c |
colunas |
0.004 in 0.10 mm |
0.006 in 0.20 mm |
0.008 in 0.20 mm |
|
c-d |
travessa |
0.005 in 0.13 mm |
0.010 in 0.20 mm |
0.10 in 0.25 mm |
|
a-d |
estrutura geral |
0.015 in 0.38 mm |
0.021 in 0.53 mm |
0.026 in 0.66 mm |
|
|
coeficientes da mola1 |
1,5 x 106 lb/pol 2,6 x 108 N/m |
2,6 x 106 lb/pol 4,6 x 108 N/m |
4,2 x 106 lb/pol 7,4 x 108 N/m |
|
¹ Determinado a cada coeficiente de fadiga da unidade de carga com a travessa içada a 50 pol (1270 mm) acima da mesa de encaixe em T. |
||||
|
A medição dos desvios pode variar 20% dependendo do tipo do atuador e do transdutor de força utilizados. |
|
|||
|
Para resultados mais precisos no teste de alta frequência, use uma Unidade de Carga com coeficiente de fadiga maior do que a classificação e força do atuador. (A |
||||
|
Unidade de Carga 322.31 com coeficiente de fadiga de 55 kip e um atuador de 22 kip será mais rígido que uma Unidade de Carga 322.21 com coeficiente de fadiga de 22 kip e |
||||
|
um atuador de 22 kip.) |
|
|
|
|
Serviço e Suporte
Nossos especialistas estão aqui para ajudá-lo a permanecer em operação.
Produtos, peças ou acessórios relacionados
Unidades de Potência Hidráulica (HPU) SilentFlo™ 515 & 525
Câmaras ambientais série 651
Célula de carga de sistema servo-hidráulico
Software TestSuite
Procurando por mais produtos?
Acesse o localizador de soluçãoENTRE EM CONTATO CONOSCO HOJE MESMO
Pronto para uma cotação ou precisa de mais informações? Estamos aqui para ajudar. Solicite uma cotaçãoRecursos
Acelere o desenvolvimento de sistema ativo e semiativo.
Explore as vantagens da tecnologia mHIL.
Programa Fluid Care
Amostragem gerenciada, análise e revisão de fluidos hidrá…
Teste de Suspensões de Bicicletas de Alto Desempenho
Visite o laboratório de testes da Fox Factory, Inc. para ver…
Componentes Automotivos Modulares
Componentes de carga com engenharia de precisão, atuadores d…
Novas aulas de treinamento on-line disponíveis
Cursos introdutórios ao vivo, ministrados por instrutores, e…