시리즈 322 테스트 시스템
이 T 슬롯 테이블 테스트 시스템은 여러 액추에이터 위치 옵션과 두 번째 하중 트레인 장착 위치를 통해 다양한 응용 분야에 맞게 구성할 수 있습니다. 구성요소 및 하위 어셈블리 테스트에 적합합니다.
응용 분야
- 동적 특성화
테스트 시편
- 금속
- 복합재
- 플라스틱
- 댐퍼
- 구성요소
- 하위 어셈블리
주요 제품 특징
Easy-to-Use
간편한 시편 배치를 위해 편리한 작업 높이로 설정된 T 슬롯 테이블
정밀성
두 개의 하중 트레인 장착 위치는 필요한 곳에 액추에이터와 크로스헤드를 배치합니다.
고급 안전 기능
크로스헤드를 빠르게 잠금 해제하고 잠글 수 있는 유압 잠금 장치 옵션을 제공합니다.
다목적
작은 재료 시편에서 대형 자동차 하위 어셈블리까지 테스트할 수 있습니다.
모델 비교
모델 322.21
- 최대 정격 하중 용량: 100 kN(22 kip)
- 최대 시편/그립 간격: 1270 mm (50 in)
- 테이블 높이: 838 mm (33 in)
모델 322.31
- 최대 정격 하중 용량: 250kN(55kip)
- 최대 시편/그립 간격: 1575 mm (62 in)
- 테이블 높이: 864 mm (34 in)
모델 322.41
- 최대 정격 하중 용량: 500kN(110kip)
- 최대 시편/그립 간격: 2057 mm (81 in)
- 테이블 높이: 984 mm (39 in)
맞춤형 구성
- 맞춤형 옵션은 MTS에 문의하십시오.
전체 제품 정보
피로 등급, 치수 및 무게
미국 상용 단위
|
|
모델 322.21 |
모델 322.31 |
모델 322.41 |
|
하중 유닛 피로 등급 |
22kip |
55kip |
110kip |
|
a 최대 시편/그립 간격¹ |
50.0 in |
62.0 in |
81.0 in |
|
b 컬럼 사이 너비 |
21.0 in |
25.0 in |
30.0 in |
|
c 높이 — 표준 컬럼 포함² |
98 in |
118.5 in |
144.75 in |
|
d 테이블 높이 |
33.0 in |
34.0 in |
38.7 in |
|
e 테이블 너비 - 좌우, 리프트 제외 |
28.0 in |
34.0 in |
42.0 in |
|
f 너비 — 좌우, 리프트 포함³ |
34.0 in |
40.0 in |
48.0 in |
|
깊이 — 앞뒤(표시되지 않음)³ |
40.0 in |
40.0 in |
60.0 in |
|
무게⁴ |
3000 lb |
4500 lb |
8500 lb |
미터법 단위
|
|
모델 322.21 |
모델 322.31 |
모델 322.41 |
|
하중 유닛 피로 등급 |
100kN |
250kN |
500kN |
|
a 최대 시편/그립 간격¹ |
1270 mm |
1575 mm |
2057 mm |
|
b 컬럼 사이 너비 |
533 mm |
635 mm |
762 mm |
|
c 높이 — 표준 컬럼 포함² |
2489 mm |
3010 mm |
3677 mm |
|
d 테이블 높이 |
838 mm |
864 mm |
984 mm |
|
e 테이블 너비 - 좌우, 리프트 제외 |
711 mm |
864 mm |
1067 mm |
|
f 너비 — 좌우, 리프트 포함³ |
864 mm |
1016 mm |
1219 mm |
|
깊이 — 앞뒤(표시되지 않음)³ |
1000 mm |
1000 mm |
1500 mm |
|
무게⁴ |
1370 kg |
2050 kg |
3870 kg |
|
¹ 표준 시리즈 661 하중 트랜스듀서 및 완전히 인입된 6in(150mm) 변위 액추에이터 포함. |
|||
|
² 테이블 장착형 액추에이터. |
|
|
|
|
³ 표준 길이 테이블에서. 제어 모듈의 위치는 테이블의 너비와 깊이를 증가시킬 수 있습니다. |
|||
|
⁴ 유압 잠금 장치, 유압 리프트 및 표준 치수 플래튼을 포함한 일반적인 최대 무게. 그립이나 기타 액세서리의 무게는 포함되지 않습니다. |
|||
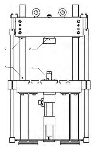
T 슬롯 치수
미국 상용 단위
|
모델 |
a |
b¹ |
c |
d |
e² |
f |
g |
h |
|
332.21 |
28.0 in |
40.0 in |
14.0 in |
20.0 in |
5.0 in |
9.0 in |
4.0 in |
5.0 in |
|
322.31 |
34.0 in |
40.0 in |
17.0 in |
20.0 in |
6.0 in |
10.0 in |
5.0 in |
5.0 in |
|
322.41 |
42.0 in |
60.0 in |
21.0 in |
30.0 in |
12.0 in |
12.0 in |
7.0 in |
5.0 in |
미터법 단위
|
모델 |
a |
b¹ |
c |
d |
e² |
f |
g |
|
332.21 |
711 mm |
1000 mm |
355.6 mm |
508.0 mm |
127.0 mm |
228.6 mm |
101.6 mm |
|
322.31 |
864 mm |
1000 mm |
431.8 mm |
508.0 mm |
152.4 mm |
254.0 mm |
127.0 mm |
|
322.41 |
1067 mm |
1500 mm |
533.4 mm |
762.0 mm |
304.8 mm |
304.8 mm |
177.8 mm |
|
¹ 더 큰 테이블을 사용할 수 있습니다. |
|
|
|
|
|
|
|
|
² 두 번째 액추에이터(옵션) 장착 위치까지의 거리. |
|
|
|
|
|||
편향 및 스프링 속도
|
|
편향¹ |
322.21 22kip/100kN |
322.31 55kip/250kN |
322.41 110kip/500kN |
|
a-b |
베이스 |
0.006 in 0.15 mm |
0.007 in 0.18 mm |
0.008 in 0.20 mm |
|
b-c |
컬럼 |
0.004 in 0.10 mm |
0.006 in 0.20 mm |
0.008 in 0.20 mm |
|
c-d |
크로스헤드 |
0.005 in 0.13 mm |
0.010 in 0.20 mm |
0.10 in 0.25 mm |
|
a-d |
전체 프레임 |
0.015 in 0.38 mm |
0.021 in 0.53 mm |
0.026 in 0.66 mm |
|
|
스프링 속도1 |
1.5 x 106lb/in 2.6 x 108N/m |
2.6 x 106lb/in 4.6 x 108N/m |
4.2 x 106lb/in 7.4 x 108N/m |
|
¹ 크로스헤드가 T 슬롯 테이블 위로 50in(1270mm) 위로 올라간 상태에서 각 하중 유닛의 전체 피로 등급에서 결정됩니다. |
||||
|
편향률은 사용하는 액추에이터 및 하중 트랜스듀서의 유형에 따라 20% 차이가 날 수 있습니다. |
|
|||
|
가장 정확한 고주파 테스트 결과를 얻으려면 액추에이터의 하중 등급보다 큰 피로 등급의 하중 장치를 사용하십시오. (피로 |
||||
|
등급이 55kip인 322.31 하중 장치와 22kip 액추에이터는 피로 등급이 22kip인 322.21 하중 장치와 |
||||
|
22kip 액추에이터보다 더 견고합니다.) |
|
|
|
|
서비스 및 지원
당사 전문가가 지속적인 운영을 위한 지원을 제공합니다.
관련 제품, 부품 또는 액세서리
더 많은 제품을 찾고 계십니까?
솔루션 파인더로 이동지금 문의
견적을 받을 준비가 되었거나 추가 정보가 필요하십니까? 저희가 도와드리겠습니다. 견적 요청리소스